Author: super@dmin
-

Meet the Man Who Is Suing Meta For Trademark Infringement—And Isn't Looking to Settle
MetaX sued Meta Platforms, parent company of Facebook, over trademarks. These lawsuits often end with someone settling. But MetaX might be going for something bigger — and trying to make a larger point.
-

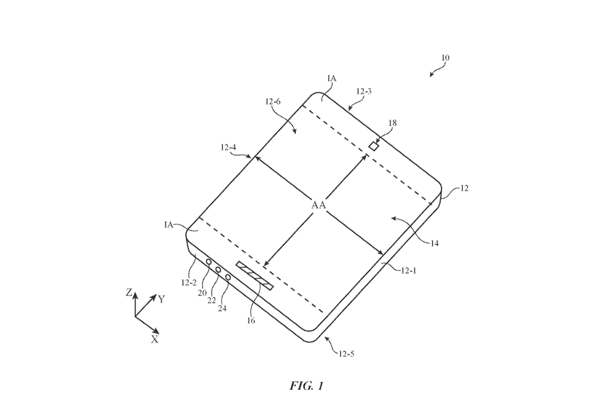
Apple Was Awarded a Patent for a Foldable Phone. Time to Flip Out!
Predictions suggest an Apple flip phone could be available by 2025.
-

Why Elon Musk Got it All Wrong — Effective Leaders Need to Loosen the Reins
Leaders are not just managers. They need to do more to build a team that can take on their roles with autonomy and passion for driving them to success.
-

Free Webinar | February 21: How to Start a Virtual Assistant Business
Have a passion for helping others and looking for a lucrative business idea? Then you’ll want to register for our free webinar to learn how you can start your own virtual assistant business.
-

2 No-Brainer Stocks to Buy and Hold Forever
Inflation has slowed from its painful 2022 peak but remains uncomfortably high, making it difficult for the Federal Reserve to wrestle back to its goal. Amid this backdrop, it could…
-

Going on a Family Vacation? This Popular U.S. Destination Is the Most Expensive in the World.
A family of four can expect to pay an average of $7,350 for a seven-night stay.
-

Is This Diversity and Inclusion Concept the Missing Link for Real Change?
To bring more allies into the diversity, equity and inclusion conversation, you need to start incorporating this key concept. Here’s why.
-

My Company True Religion Sold for More Than $800 Million. Here's What I'd Never Tolerate Again — and How I Lead Today.
Serial entrepreneur and True Religion co-founder Kym Gold is doing things differently this time around.
-

The 8 Best Places to To Stash Your Retirement Savings
Losing money is the last thing any of us wants to do. Rather than risking your money on the stock market, you might just choose to park it in a…
-

Late Payments Are Crippling Small Businesses. Use These Strategies to Collect Your Money Sooner.
To keep late payments from happening, you need to learn how to prevent them in the first place. Here’s how to protect yourself and get the money your business rightfully earned.